Wärmezähler Koax G2 mit Temperaturfühler 5,0 mm - 1,5 m³/h
Artikelnummer: 10742
GTIN: 4064966011650

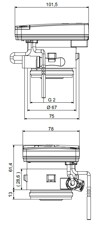
Kompakt-Wärmezähler mit Messkapsel Koax G2 und Temperaturfühler 5,0 mm

Kompakt-Wärmezähler Koax G2 qp 1,5 m3/h - Temperaturfühler 5,0 mm

Die Geräte verfügen über eine IrDA-Schnittstelle sowie eine Schnittstelle zur Nachrüstung externer Module. Ab Werk können die Geräte mit der benötigten Kommunikationstechnik ausgestattet werden.

Die Messwerterfassung erfolgt über zwei Platin-Widerstandsthermometer vom Typ PT 1000 sowie einen hydraulischen Flügelradgeber mit magnetfreier Abtastung nach dem Induktivprinzip. Dadurch wird ein verschleißarmer und langzeitstabiler Messbetrieb gewährleistet.

Hohe Auflösung durch 8-stellige LCD-Anzeige. Es werden der aktuelle Wert, der Altwert, die Monatswerte sowie zahlreiche Service- und Betriebsparameter angezeigt. Das 2-Tastensystem gewährleistet eine schnelle Bedienung.

  • Spannungsversorgung: 6-Jahres-Lithiumbatterie
  • Zulassung nach Europäischer Messgeräterichtlinie (MID)
  • geeignet für Tauchhülsenmessung und Direktmessung
  • 5 Jahre Garantie
Rechenwerk
Temperaturbereich: 10 °C bis 90 °C
Umgebungstemperatur: 5 °C bis 55 °C
zugelassene Temperaturdifferenz: 3 K - 70 K
Zählbeginn Temperaturdifferenz: 1,0 K
Energieversorung: Lithium; Nennspannung 3,0 V
Betriebsdauer: > 6 (opt. 10) Jahre + 1 Jahr Reserve
Display-Ebenen
Standard: min. 2, bis zu 10 (abhängig von Optionen und Ausführung)
Anzeige: 8-stelliges LCD + Piktogramme
Energieanzeige: kWh, optional MWh
Durchflusssensor
Nenndurchfluss qp: 1,5 m3/h
Minimaldurchfluss qi horziontal:
Minimaldurchfluss qi vertikal:
30 l/h
30 l/h
Verhältnis qp/qi horizontal:
Verhältnis qp/qi vertikal:
50:1
50:1
Verhältnis qs/qp: 2:1
Anlauf: 4 l/h bis 5 l/h
zulässiger Betriebsdruck: maximal 1,6 MPa (16 bar)
Systemdruck: minimal 0,1 MPa (1 bar), Kavitationsvermeidung
Einbaulage: horizontal/vertikal
Zählergewinde: G2 B
Temperatursensoren
Messelement: PT 1000 nach EN 60751
Ausführung: Typ DS
Durchmesser: 5,0 mm
Einbauart direkt:
Einbauart indirekt:
5,0 mm (Kugelhahn)
5,0 mm (Tauchhülse)
Anschlusskabellänge: 1,5 m

Zurück